Prisma de Herschel
Un prisma de Herschel (también denominado cuña de Herschel) es un dispositivo óptico utilizado en observación solar. Desvía la mayor parte de la luz de la ruta óptica refractándola, lo que permite una observación visual segura. El astrónomo alemán John Herschel (1792-1871) fue el primero en proponerlo y utilizarlo en la década de 1830.

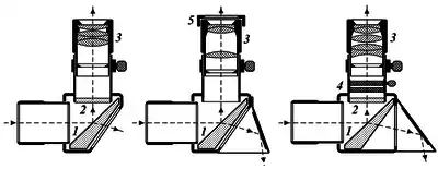
1) Prisma de Herschel. 2) Filtro de densidad natural. 3) Ocular. 4) Filtro polarizador variable. 5) Filtro exterior.
Visión general
El prisma en una cuña de Herschel es una sección transversal trapezoidal. La superficie del prisma que mira hacia la luz actúa igual que un espejo diagonal estándar, reflejando una pequeña porción de la luz entrante 90 grados hacia el ocular. La forma del prisma trapezoidal refracta el resto de la luz reunida por el objetivo del telescopio en un ángulo determinado. El prisma de Herschel refleja aproximadamente el 4,6% de la luz que pasa a través de una de sus caras planas. El ángulo de la cuña tiene tangente 1/10.
El 95,4% de la luz y el calor que entran al prisma, salen por la cara posterior y desde ahí se dirigen a una ventana trasera practicada en la carcasa, eliminando el exceso de luz y calor innecesarios para la observación.[1] Al disminuir la intensidad de la luz, el prisma lo hace de forma que no afecta al espectro visible, lo que resulta en un perfil espectral más preciso que se puede filtrar para resaltar ciertos detalles. Son una alternativa a los filtros de luz blanca, que, a pesar de su nombre, inherentemente deben bloquear ciertas longitudes de onda del espectro visible.
Limitaciones
Si bien el prisma está fabricado de vidrio especial que absorbe la luz ultravioleta e infrarroja, no se puede usar con los telescopios de espejo. Esto se debe a que los telescopios reflectores usualmente tienen un espejo secundario cerca del foco que puede dañarse por el calor causado por la luz infrarroja. En particular, esta luz infrarroja concentrada puede agrietar o despegar elementos ópticos de un telescopio, especialmente aquellos ubicados cerca del plano focal, lo que puede producir lesiones graves en los ojos o causar ceguera.
La lente de cristal del objetivo de un telescopio refractor nunca absorbe estas longitudes de onda (ya que hacerlo imposibilitaría capturar imágenes de longitudes de onda infrarroja/ultravioleta, procedentes de nubes de polvo y nebulosas); de hecho, incluso una lente de cámara normal transmitirá la luz infrarroja (razón por la que en las cámaras digitales los sensores están equipados con filtros de bloqueo infrarrojo, y motivo por el que muchos astrónomos aficionados hacen todo lo posible para eliminar este tipo de radiación en las imágenes astronómicas).
También es importante tener en cuenta que incluso un 4,5% de la luz del sol (con un índice de refracción nd~1.35)[2] es lo suficientemente fuerte como para quemar la retina, por lo que aún deben usarse filtros de densidad neutra apropiados.[3]
Véase también
- Anexo:Partes del telescopio y construcción
Referencias
- http://www.cloudynights.com/item.php?item_id=109
- Warren J. Smith's Modern Optical Engineering, Third Edition, 2000, pg. 175, McGraw-Hill, Warren J. Smith et. al., (Kaiser Electro-Optics Inc.), ISBN 0-07-136360-2.
- http://www.alpineastro.com/Solar_Observation/HerschelWedge.htm