Embrague de empuje
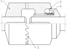
Un embrague de empuje (también conocido como acoplamiento de garras, denominado dog clutch en inglés) es un tipo de embrague que acopla dos ejes giratorios u otros componentes giratorios no por fricción, sino por interferencia o ajuste. Las dos partes del embrague están diseñadas de tal manera que una empuja a la otra, haciendo que ambas giren a la misma velocidad y nunca patinen.[1]


Se utiliza cuando el deslizamiento no es deseable y/o cuando el embrague no se utiliza para regular el momento de una fuerza. Sin deslizamiento, los embragues de empuje no se ven afectados por el desgaste de la misma forma que los embragues de fricción.
Forman parte de las transmisiones manuales de los automóviles, con el fin de bloquear diferentes engranajes en los ejes giratorios de entrada y salida de la caja de cambios. Una disposición sincronizada asegura un acoplamiento suave al hacer coincidir las velocidades del eje antes de permitir que se active el embrague de empuje. También se utilizan comúnmente en los coches de carreras.
Un buen ejemplo de un embrague de empuje simple se puede encontrar en los cambios internos de una bicicleta Sturmey-Archer,[2] en los que se usa un embrague de empuje en forma de cruz para bloquear el conjunto del eje motor en diferentes partes del tren del engranaje planetario.
Referencias
- Jack Erjavec, Michael Ronan (2015). Today's Technician: Manual Transmissions and Transaxles Classroom Manual and Shop Manual, Spiral bound Version. Cengage Learning. p. 928. ISBN 9781305534070. Consultado el 14 de diciembre de 2020.
- Sutherland, Howard. «Sutherland Handbook of Coaster Brakes and Internally Geared Hubs». www.sheldonbrown.com. Sutherland Pubns. Consultado el 21 July 2015.
Enlaces externos
Wikimedia Commons alberga una categoría multimedia sobre Embrague de empuje.
- Potenciales y metodología de desarrollo para transmisiones embragues de empuje (dog clutches)