Bomba hidráulica de aire comprimido
Una bomba de aire comprimido es un dispositivo hidráulico de accionamiento neumático, caracterizado por su grado de succión bajo y por su capacidad de descargar líquidos con sólidos en suspensión. La bomba inyecta aire comprimido por el fondo del tubo de descarga que está sumergido en el líquido. El aire comprimido se mezcla con el líquido, haciendo que la mezcla aire-agua sea menos densa que el resto del líquido que la rodea y por tanto es desplazada hacia arriba por el líquido circundante de mayor densidad a través de la tubería de descarga. Los sólidos pueden ser arrastrados por el flujo y, si son lo suficientemente pequeños para pasar por la tubería, se descargarán con el resto del flujo a una profundidad menor o por encima de la superficie. Se utilizan ampliamente en acuicultura para bombear, hacer circular y airear agua en estanques y sistemas de recirculación cerrados. Otras aplicaciones incluyen operaciones de dragado, arqueología subacuática, tareas de salvamento y recolección científica de especímenes.

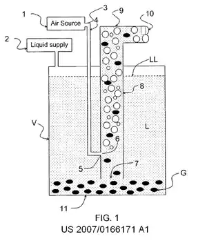
1. Suministro de aire
2. Suministro de líquido
3. Puerto de entrada de aire
4. Línea de suministro de aire
5. Entrada del aire
6. Salida del aire
7. Toma del líquido
8. Tubo ascendente
9. Mezcla aire-líquido
10. Salida de la bomba
L: líquido, normalmente aguas residuales
LL: nivel de líquido
V: recipiente
G: grava o sólidos
Principio
La única energía necesaria la proporciona el aire comprimido[1] generado por un compresor o un soplador. El aire se inyecta en la parte inferior de una tubería que transporta un líquido. Dada la flotabilidad del aire debido a su densidad más baja que la del líquido, sube rápidamente. Debido a la presión generada, el líquido es arrastrado por el flujo de aire ascendente y se mueve en la misma dirección que este. El cálculo del caudal volumétrico del líquido es posible gracias a la física de flujo de dos fases.
Historia
La autoría de la invención se atribuye al ingeniero de minas bávaro Carl Emanuel Löscher, quien describió su principio de funcionamiento en 1787 en una publicación titulada "Aerostatic Kunstgezeug" (Artefactos Aerostáticos).[2] En 1797 se puso en práctica su idea, pero el sistema de bombeo mediante aire comprimido permaneció restringido al bombeo de agua en las minas.[3]
En Estados Unidos, la primera aplicación industrial del sistema no apareció hasta 1846, cuando se adoptó en la industria petrolera de Pensilvania.[3] Debido a la complejidad del modelado de la mecánica de fluidos bifásica implicada en su funcionamiento, el tema ha sido objeto de una intensa investigación para obtener una caracterización satisfactorio del flujo. También es notable que los primeros intentos de patentar el sistema en los Estados Unidos fueron rechazados con el argumento de que el mecanismo contradecía las leyes de la física y no era factible.[nota 1] Este primer rechazo generó una serie de patentes sobre varios tipos de bombas y diversas mejoras, principalmente sobre la boquilla de inyección de aire inferior.
Así mismo, se puede mencionar al inglés Jens Orten Boving, que ideó el suministro del aire comprimido mediante una trompa de agua. La unidad, bautizada como "hidrautomat", es una bomba elevadora totalmente desprovista de elementos mecánicos en movimiento. Exportó su sistema entre 1924 y 1929 a clientes directos, especialmente donde faltaba experiencia mecánica o se daban condiciones de operación severas. Varias unidades funcionaron con éxito en países como la India, España o Nigeria.[5]
Utilización
- Las bombas de aire comprimido se utilizan a menudo en pozos con aguas con arena en suspensión, en las que este material desgastaría por abrasión rápidamente las piezas de otros tipos de bombas mecánicas. El mantenimiento prácticamente se reduce al compresor de aire que está en la superficie, y no se necesitan dispositivos mecánicos en el pozo. Sin embargo, debe disponerse de pozos con una profundidad considerable bajo la lámina de agua para permitir la inmersión de la recámara del sistema de bombeo. El aire generalmente se bombea bajo el agua a una profundidad al menos igual a la altura del desnivel que se desee bombear el agua (es decir, si el nivel freático está a 15 m por debajo, el aire debe bombearse a 30 m de profundidad). A veces también se usa como parte del proceso del tratamiento de aguas residuales para elevarlas a través de pequeños desniveles.
- También se utilizan para recolectar muestras de fauna de los sedimentos.[6] Su funcionamiento implica sobremuestrear el zooplancton y la meiofauna; y a su vez submuestrear animales que exhiben un comportamiento de huida.[6]
- En las cafeteras por percolación se utiliza este principio para hacer circular el café.
Inventor
Se considera que la primera bomba de aire fue inventada por el ingeniero alemán Carl Emanuel Löscher en 1797.
Ventajas e inconvenientes

Ventajas
- La bomba es muy fiable. La simplicidad de su principio de funcionamiento es una clara ventaja. Solo se requiere aire con una presión más alta que el líquido.
- El líquido no está en contacto con ningún elemento mecánico. Por lo tanto, la bomba no es afectada por la abrasión que generarían los sólidos suspendidos en el agua (algo muy importante en los pozos de agua con arena), ni los sólidos arrastrados son afectados por mecanismo alguno (lo que es importante para la investigación arqueológica en el mar).
- Actúa como un aireador del agua y, en algunas configuraciones, puede elevar el agua estancada del fondo a la superficie de los tanques de agua.
- Dado que no hay piezas de bombeo que restrinjan el paso, se pueden impulsar sólidos de hasta el 70% del diámetro de la tubería de manera fiable.
Inconvenientes
- Costo: mientras que en algún caso específico el costo operativo puede ser asumible, la mayoría de las veces la cantidad de aire comprimido y, por lo tanto, la energía requerida, es alta en comparación con el flujo de líquido producido.[7][8]
- Las bombas de aire comprimido convencionales tienen un caudal muy limitado, y solo puede estar totalmente encendida o apagada, siendo muy difícil obtener una amplia gama de control de flujo proporcional variando el volumen de aire comprimido. Esta es una desventaja muy significativa en algunas partes de plantas de tratamiento de aguas residuales pequeñas, como el aireador.[9]
- La succión es limitada.
- Este sistema de bombeo es adecuado solo si el cabezal hidráulico es relativamente bajo. Si se quiere obtener una altura elevada, hay que elegir un sistema de bombeo convencional.
- Debido a la compresión del aire, el oxígeno se disuelve en el líquido. En determinados casos, esto puede resultar problemático, como, por ejemplo, en las balsas anaeróbicas de las plantas de tratamiento de aguas residuales.
Mejoras de diseño

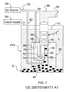
50. Suministro de aire
52. Puerto de entrada de aire
58. Suministro de líquido
60,62. Líneas de suministro de aire
64. Extremo superior del tanque de aire 86
66,82. Puertos de aireación
70. Entrada de aire superior del codo en forma de U
74, 76 Salidas de aire
84. Toma del líquido
65. Tubo elevador
88. Líquido desplazado
90. Salida de la bomba
L: Líquido, normalmente aguas residuales
LL: Nivel del líquido
VVV: Recipiente
G: Grava o sólidos
Una variante de 2007, llamada "bomba géiser" puede impulsar fluidos con mayor succión y menos aire. También el caudal bombeado es proporcional al volumen de aire, lo que permite su uso en procesos que requieren flujos controlados variables. Permite almacenar el aire y liberarlo en grandes burbujas que sellan el tubo de elevación, levantando bolsas de fluido.[10]

Véase también
- Bomba hidráulica de aire (dispositivo de dragado)
- Bomba hidráulica de gas
- Análisis de red de tuberías
- Bomba pulsante
- Eductor de agua
Notas
- En 1911, Davis y Weidner repasaron la historia del bombeo por aire en los Estados Unidos en su obra An research of the air lift pump.
Referencias
- «Water lifting devices». Food and Agriculture Organization (FAO) of the United Nations. Consultado el 17 April 2021.
- «Airlift Pump. Part 1» (en inglés).
- W. E. Castro, P. B. Zielinski y P. A. Sandifer (1975). Performance characteristics of air lift pumps of short lenght and small diameter (pdf) (en inglés).
- Leroy E. Schulze (mayo de 1954). United States Department of Interior, ed. Hydraulic Air Compressors (Circular 7683) (en inglés). pp. 20; 31.
- Cahoon, LB; Lindquist, DG; Clavijo, IE; Tronzo, CR (1992). «Sampling small invertebrates at the sediment-water interface». In: Cahoon, LB. (Ed.) Proceedings of the American Academy of Underwater Sciences Twelfth Annual Scientific Diving Symposium "Diving for Science 1992". Held September 24–27, 1992 at the University of North Carolina at Wilmington, Wilmington, NC. American Academy of Underwater Sciences. Consultado el 5 de abril de 2013.
- «Air quantity calculation». Archivado desde el original el 22 de octubre de 2006. (1.86 MB)
- «Airlift basic calculation». Archivado desde el original el 7 de julio de 2011. Consultado el 27 de febrero de 2022.
- New Pump Technology May Improve Small Flows, WVU NCSFC Clearinghouse Archivado el 2 de diciembre de 2010 en Wayback Machine. Accessed 2011-3-21
- Patent Application number: 11/654,448 Archivado el 20 de octubre de 2014 en Wayback Machine., January 17, 2007, Inventor: Masao Kondo
Enlaces externos
Wikimedia Commons alberga una categoría multimedia sobre Bomba hidráulica de aire comprimido.
- Cálculo del transporte aéreo por Sanitaire (documento pdf) (Enlace roto: agosto de 2015)
- Airlift_basic_calculation.xls recuperado a través de Waybackmachine. Reflejado en filedropper dot com /airliftbasiccalculation.